JP-LD系列电磁流量计测量原理是法拉第电磁感应定律,传感器主要组成部分是:测量管、电极、励磁线圈、铁芯与磁轭壳体。电磁流量计主要用于测量封闭管道中的导电液体和浆液中的体积流量。包括酸、碱、盐等强腐蚀性的液体。该产品广泛应用于石油、化工、冶金、纺织、食品、制药、造纸等行业以及环保、市政管理,水利建设等领域。
一、产品特点:
1、测量不受流体密度、粘度、温度、压力和电导率变化的影响;
2、测量管内无阻碍流动部件,无压损,直管段要求较低;
3、系列公称通径DN15~DN3000。传感器衬里和电极材料有多种选择;
4、转换器采用新颖励磁方式,功耗低、零点稳定。流量范围度可达1500:1;
5、转换器可与传感器组成一体型或分离型;
6、转换器采用16位高性能微处理器,2x16LCD显示,参数设定方便,编程可靠;
7、流量计为双向测量系统,内装三个积算器:正向总量、反向总量及差值总量;可显示.庄、反流量,并具有多种输出:电
流、脉冲、数字通讯、HART;
8、转换器采用表面安装技术(SMT),具有自检和自诊断功能;
二、主要技术数据:
1.整机和传感器技术数据:
2.转换器技术数据:
3.衬里的选择:
4.进口保护法兰和接地法兰( 或接地环)的选择:
5.电极的选择:
三、 JP-LD系列电磁流量计仪表选型:
1.量程范围确认:
一般工业用电磁流量计被测介质流速以2~4m/s为宜,在特殊情况下,低流速应不小于0.2m/s,高应不大于8m/s。若介质中含有固体颗粒,常用流速应小于3m/s,防止衬里和电极的过分磨擦;对于粘滞流体,流速可选择大于2m/s,较大的流速有助于自动消除电极上附着的粘滞物的作用,有利于提高测量精度。
在量程Q已确定的条件下,即可根据上述流速V的范围决定流量计口径D的大小,其值由下式计算:
Q=πD2V/4
Q:流量(㎡/h) D:管道内径 V:流速(m/h)
2.电磁流量计的量程Q应大于预计的大流量值,而正常的流量值以稍大于流量计满量程刻度的50为宜。
3.JP-LD系列电磁流量计参考流量范围:
4.一体式电磁流量计外形尺寸图:
5.电磁流量计选型表:
四、电磁流量计安装 示意图及注意事项:
| 执行标准 | JB/T 9248—1999 | ||||
| 公称通径 | 15、20、25、32、40、50、65、80、100、125、150、200、250、300、 350、400、450、500、600、700、800、900、1000、1200、1400、1600、 1800、2000、2200、2400、2600、2800、3000 | ||||
| 高流速 | 15m/s | ||||
| 精确度 | DNl5~DN600 | 示值的:±0.3%(流速≥1m/s);±3mm/s(流速<1m/s) | |||
| DN700—DN3000 | 示值的±0.5%(流速≥0.8m/S);±4mm/s(流速<0.8m/S) | ||||
| 流体电导率 | ≥5uS/cm | ||||
| 公称压力 | 4.0MPa | 1.6MPa | 1.0MPa | 0.6MPa | 6.3、10MPa |
| DNl5~DN150 | DNl5~DN600 | DN200~DN1000 | DN700~DN3000 | 特殊订货 | |
| 环境温度 | 传感器 | —25℃—十60℃ | |||
| 转换器及一体型 | —10℃—十60℃ | ||||
| 衬里材料 | 聚四氟乙烯、聚氯丁橡胶、聚氨酯、聚全氟乙丙烯(F46)、加网PFA | ||||
| 高流体温度 | —体型 | 70℃ | |||
| 分离型 | 聚氯丁橡胶衬里 | 80℃;120℃(订货时注明) | |||
| 聚氨酯衬里 | 80℃ | ||||
| 聚四氟乙烯衬里 | 100℃;150℃(订货时注明) | ||||
| 聚全氟乙丙烯(F46) | |||||
| 加网PFA | |||||
| 信号电极和接地电极材料 | 不锈钢0Crl8Nil2M02Ti、哈氏合金C、哈氏合金B、钛、钽、铂/铱合金、不锈钢涂覆碳化钨 | ||||
| 电极刮刀机构 | DN300—DN3000 | ||||
| 连接法兰材料 | 碳钢 | ||||
| 接地法兰材料 | 不锈钢1Crl8Ni9Ti | ||||
| 进口保护法兰材料 | DN65—DNl50 | 不锈钢1Crl8Ni9Ti | |||
| DN200~DNl600 | 碳钢十不锈钢1Crl8Ni9Ti | ||||
| 外壳防护 | DNl5~DN3000分离型橡胶或聚氨酯衬里传感器 | IP65或IP68 | |||
| 其他传感器、——体型流量计和分离型转换器 | IP65 | ||||
| 间距(分离型) | 转换器距离传感器一般不超过100m | ||||
| 电源 | 交流 | 85—265V,45—400Hz | |||||
| 直流 | 11—40V | ||||||
| 操作键和显示 | 按键式 |
| |||||
| 磁键式 |
| ||||||
| 内部积算器 | 正向总量、反向总量及差值总量。 | ||||||
| 输出信号 | 单向模拟输出 |
| |||||
| 双向模拟输出 | 下限限制为。或4mA,其他同单向模拟输出。 | ||||||
| 双向脉冲输出 |
| ||||||
| 双路报警输出 |
| ||||||
| 数字通讯 | RS232,RS485,HART | ||||||
| 衬里材料 | 主要性能 | 高介质温度 | 适用范围 | |
| —体型 | 分离型 | |||
| 聚四氟乙烯(F4) | 是化学性能稳定的一种塑料,能耐沸腾的盐酸、硫酸、硝酸和王水,也能耐浓碱和各种有机溶剂。不耐三氟化氯、高温三氟化氯、高流速液氟、液氧、自氧的腐蚀。 | 70℃ | 100℃ 150℃ (需特殊订货) | 1、浓酸、碱等强腐蚀性介质。 2、卫生类介质。 |
| 聚全氟乙丙烯(F46) | 同F4,耐磨性、抗负压能力高于F4。 | 同上 | ||
| 聚氟合乙烯(Fs) | 适用温度上限较聚四氟乙烯低,但成本也较低。 | 80℃ | ||
| 聚氯丁橡胶 | 1、有好的弹性,高度的扯断力,耐磨性能好。2、耐一般低浓度酸、碱、盐介质的腐蚀,不耐氧化介质的腐蚀。 | 80℃ 120℃ (需特殊订货) | 水、污水、弱磨损性的泥浆矿浆。 | |
| 聚氨酯橡胶 | 1、耐磨性能强。 2、耐腐蚀性能较差。 | 80℃ | 中性强磨损的矿浆、煤浆、泥浆 | |
| 法 兰 种类 | 适 用 范 围 |
| 接地法兰(或接地环) | 适用于非导体管道,如塑料管道,但有接地电极的传感器不需要。 |
| 进口保护法兰 | 当介质有强磨损性时选用。 |
| 电极材料 | 耐 蚀 及 耐 磨 性 能 |
| 不锈钢0Crl8Nil2M02Ti | 用于工业用水、生活用水、污水等具有弱腐蚀性的介质,适用于石油、化工、钢铁等工业部门及,市政、环保等领域。 |
| 哈氏合金B | 对沸点以下的一切浓度的盐酸有良好的耐蚀性,也耐硫酸、磷酸、氢氟酸、有机酸等非氯化性酸、碱,非氧化性盐液的腐蚀。 |
| 哈氏合金C | 能耐非氧化性酸,如硝酸、混酸、或铬酸与硫酸的混合介质的腐蚀,也耐氧化性盐类如:Fe,”、、Cu”下或含其他氧化剂的腐蚀,如高于常温的次氯酸盐溶液、海水的腐蚀 |
| 钛 | 能耐海水、各种氯化物和次氯酸盐、氧化性酸(包括发烟硫酸)、有机酸、碱的腐蚀。不耐较纯的还原性酸(如硫酸、盐酸)的腐蚀,但如酸中含有氧化剂(如硝酸、Fc++、Cu++)时,则腐蚀大为降低。 |
| 钽 | 具有优良的耐蚀性和玻璃很相似。除了氢氟酸、发烟硫酸、碱外,几乎能耐——切化学介质(包括沸点的盐酸、硝酸和l 50℃以下的硫酸)的腐蚀。在碱中刁;耐蚀。 |
| 铂/钛合金 | 几乎能耐——切化学介质,但不适用于王水和铵盐。 |
| 不锈钢涂覆碳化钨 | 用于无腐蚀性,强磨损性的介质。 |
| 注: 由于介质种类繁多,其腐蚀性又受温度、浓度、流速等复杂因素影响而变化,故本表仅供参考。用户应根据实际情况自己做出选择,必要时应做拟选材料的耐腐试验,如挂片试验。 | |
三、 JP-LD系列电磁流量计仪表选型:
1.量程范围确认:
一般工业用电磁流量计被测介质流速以2~4m/s为宜,在特殊情况下,低流速应不小于0.2m/s,高应不大于8m/s。若介质中含有固体颗粒,常用流速应小于3m/s,防止衬里和电极的过分磨擦;对于粘滞流体,流速可选择大于2m/s,较大的流速有助于自动消除电极上附着的粘滞物的作用,有利于提高测量精度。
在量程Q已确定的条件下,即可根据上述流速V的范围决定流量计口径D的大小,其值由下式计算:
Q=πD2V/4
Q:流量(㎡/h) D:管道内径 V:流速(m/h)
2.电磁流量计的量程Q应大于预计的大流量值,而正常的流量值以稍大于流量计满量程刻度的50为宜。
3.JP-LD系列电磁流量计参考流量范围:
| 口径 (DN) | 流 量 范 围 (m)3/h | 口径 (DN) | 流 量 范 围 (m)3/h | 口径 (DN) | 流 量 范 围 (m)3/h |
| 15 | 0.4~6.0 | 150 | 40~600 | 700 | 900~12000 |
| 20 | 0.6~12 | 200 | 60~1000 | 800 | 1000~16000 |
| 25 | 1.0~15 | 250 | 100~1600 | 900 | 1200~20000 |
| 32 | 1.0~25 | 300 | 160~2500 | 1000 | 1600~25000 |
| 40 | 2.5~40 | 350 | 200~3000 | 1200 | 2500~30000 |
| 50 | 4~60 | 400 | 250~4000 | 1400 | 3000~50000 |
| 65 | 6~120 | 450 | 300~5000 | 1600 | 4000~60000 |
| 80 | 10~160 | 500 | 400~6000 | 1800 | 5000~80000 |
| 100 | 16~250 | 550 | 500~8000 | 2000 | 6000~100000 |
| 125 | 25~400 | 600 | 6000~10000 | 2200 | 7000~120000 |
4.一体式电磁流量计外形尺寸图:
| 通径 (DN) | L (mm) | H (mm) | 通径 (DN) | L (mm) | H (mm) | ![]() |
| 15 | 200 | 299 | 200 | 350 | 517 | |
| 20 | 200 | 304 | 250 | 400 | 585 | |
| 25 | 200 | 312 | 300 | 500 | 627 | |
| 32 | 200 | 321 | 350 | 500 | 681 | |
| 40 | 200 | 340 | 400 | 500 | 741 | |
| 50 | 200 | 353 | 450 | 550 | 779 | |
| 65 | 200 | 369 | 500 | 550 | 834 | |
| 80 | 200 | 375 | 600 | 600 | 725 | |
| 100 | 250 | 404 | 700 | 700 | 810 | |
| 125 | 250 | 432 | 800 | 800 | 920 | |
| 150 | 300 | 461 | 900 | 900 | 1020 | |
| 200 | 350 | 517 | 1000 | 1000 | 1120 |
5.电磁流量计选型表:
| JP-LD | 电磁流量计 | ||||||||||||||||||||||||
| 口径 (mm) | 15 | DN15 | |||||||||||||||||||||||
| 20 | DN20 | ||||||||||||||||||||||||
| … | … | ||||||||||||||||||||||||
| 2600 | DN2600 | ||||||||||||||||||||||||
| 安装方式 | Y | 一体式 | |||||||||||||||||||||||
| F | 分体式式 | ||||||||||||||||||||||||
| 输出信号 | I | 4~20mA | |||||||||||||||||||||||
| H | 4~20mA+HART协议 | ||||||||||||||||||||||||
| F | 频率 | ||||||||||||||||||||||||
| R | RS485通讯 | ||||||||||||||||||||||||
| 衬里材质 | N | 氯丁橡胶(65℃以下) | |||||||||||||||||||||||
| F | 聚四氟乙烯(160℃以下) | ||||||||||||||||||||||||
| P | 聚氟乙烯(70℃) | ||||||||||||||||||||||||
| 电极材质 | 3L | 316L | |||||||||||||||||||||||
| HB | 哈氏合金B | ||||||||||||||||||||||||
| HC | 哈氏合金C | ||||||||||||||||||||||||
| Ti | 钛 | ||||||||||||||||||||||||
| Ta | 钽 | ||||||||||||||||||||||||
| By | 铂铱合金 | ||||||||||||||||||||||||
| 压力等级 | 1 | PN1.6 | |||||||||||||||||||||||
| 2 | PN2.5 | ||||||||||||||||||||||||
| 4 | PN4.0 | ||||||||||||||||||||||||
| 6 | PN6.3 | ||||||||||||||||||||||||
| 9 | PN16 | ||||||||||||||||||||||||
| 供电方式 | D | DC 24V | |||||||||||||||||||||||
| A | AC 220V | ||||||||||||||||||||||||
| 附加选项 | C | 插入式 | |||||||||||||||||||||||
| B | 防爆(ExII CT6) | ||||||||||||||||||||||||
四、电磁流量计安装 示意图及注意事项:
| 注意事项 | 图例 | |||||||||||||||||||
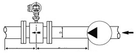
| 1.水平直管道的安装 保证流量计的前直管段≥5D,后直管段≥3D | ![]() | |||||||||||||||||||
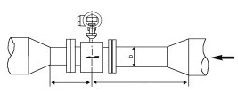
| 2.扩管的安装: 对于小口径大流量,扩管安装,同时保证流量计的前直管 段≥5D,后直管段≥2D | | |||||||||||||||||||
| 3.缩管的安装: 对于大口径小流量,缩管安装,同时保证流量计的前直管 段≥10D,后直管段≥5D | | |||||||||||||||||||
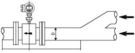
| 4.前后有弯管的安装: 对于流量计前后有弯管的安装,应保证流量计的前直管段≥10D,后直管段≥5D | ![]() | |||||||||||||||||||
| 5.阀 应将阀安装在流量计的上游,同时保证流量计的前直管段≥10D,后直管段≥5D | ![]() | |||||||||||||||||||
| 6.泵 应将泵安装在流量计的上游,同时保证流量计的前直管段≥15D,后直管段≥5D | ![]() | |||||||||||||||||||
| 7.支管进总管 对于流量计前端有两个支管进总管时,应保证流量计的前直管段≥30D,后直管段≥3D | ![]() | |||||||||||||||||||









![[list:title]](/uploads/allimg/180722/1-1PH20U459.jpg)





