2024幸运飞飞艇168官网现场直播

产品分类

联系方式

地址:江苏金湖县84大道

服务热线:0517-86905928

传真:0517-86905928

手机:15358661929

邮箱:jhjpyb@foxmail.com

联系人:徐经理

转子流量计

当前位置:首页>产品中心>流量仪表系列>转子流量计
JP-LZS塑料转子流量计
[list:title]

JP-LZS塑料转子流量计

产品优势:
合作客户:
        JP-LZS型塑料管转子流量计锥管主要部分均由AS,ABS塑料制成,有较好的耐腐性能,具有结构合理、体积小、重量轻、锥管不易破碎等特点。可广泛应用于化工、环保、食品等工业部门。
        塑料管转子流量计连接方式可分为:插接、焊接、螺纹和法兰连接四种。

一、JP-LZS 塑料管转子流量计技术参数:
1.流量范围表:
通径 流量范围(L/h) 通径 流量范围(m3/h) 通径 流量范围(m3/h)
DN15 5~50 DN32 0.4~4 DN100 12~60
10~100 0.6~6 18~90
16~160 DN50 1~10 20~120
25~250 1.6~16 DN125 25~150
40~400 DN65 5~25 30~180
50~500 8~40 DN150 12~60
60~600 12~60 18~90
100~1000 DN80 5~25 20~120
DN25 100~1000 8~40 25~150
160~1600 12~60 30-180
250~2500        
2.温度:≤60℃,
3.压力:≤0.6MPa,
4.精度:±5%。

二、塑料管转子流量计外形及安装尺寸:
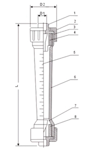
1.外形图及构造:

外形 构造 外形 构造
  1.接管
2.螺帽
3.“0”密封圈
4.上止挡
5.刻度尺
6.锥管
7.浮子
8.下止挡
  1.法兰
2. “0”密封圈
3. 锥管
4. 刻度尺
5.导杆
6.浮子
LZS-15~LZS-65 LZS-100~LZS-150

2.尺寸规格表:
型 号 尺   寸(mm) 适用管道
(mm)
L D1 D2
JP-LZS-15 202 20 45 15或20
JP-LZS-25 226 32 60 25或32
JP-LZS-32 288 40 74 32或40
JP-LZS-50 341 63 98 50或63
JP-LZS-65 430 75 122 65或75
JP-LZS-100 520 法兰连接 100
JP-LZS-125 520 法兰连接 125
JP-LZS-150 520 法兰连接 150

2024幸运飞飞艇168官网现场直播